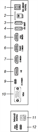
Diagrammes des connecteurs

Ce diagramme et ce tableau présentent les connecteurs du panneau de connexion latéral et inférieur de l'écran :
Côté
Bas
N° | Connecteur | Se branche à | Remarques |
---|---|---|---|
1 | USB 2.0 type B | Entrée HDMI 1 (toucher) OU Entrée HDMI 2 (toucher) | Si vous avez branché à la fois des appareils aux connecteurs des entrées HDMI 1 et HDMI 2, vous devrez partager un câble USB entre les appareils (en supposant que vous voulez toucher sur ces deux appareils). |
2 | Micro SD | carte microSD | N / A |
3 | USB 3.2 Gen 1 Type-A | Clés USB, périphériques et autres appareils pris en charge | |
4 | USB 3.2 Gen 1 Type-A | Clés USB, périphériques et autres appareils pris en charge | |
5 | Sortie HDMI 2.1 | Écran externe OU Système audio externe | |
6 | Entrée HDMI 2.1 | Entrée HDMI 1 (vidéo et audio) OU Source vidéo externe OU Système audio externe | Ce connecteur prend en charge le protocole HDMI ARC (Audio Retour Canal), qui permet aux signaux audio de passer entre l'écran et l' appareil connecté et d'améliorer la qualité audio en conséquence. |
7 | Entrée HDMI 2.1 | Entrée HDMI 2 (vidéo et audio) OU Source vidéo externe | |
8 | DisplayPort 1.4a | Entrée DisplayPort (vidéo et audio) | |
9 | USB Type-C | Entrée USB Type-C 2 OU Clés USB, périphériques et autres appareils pris en charge | |
10 | VGA In | Entrée VGA (vidéo) | |
11 | USB 2.0 type B | D1 (DisplayPort, toucher) OU VGA (toucher) | Si vous avez des appareils branchés à la fois aux connecteurs des entrées D 1 (DisplayPort) et VGA, vous devrez partager un câble USB entre les appareils (en supposant que vous voulez toucher sur ces deux appareils). |
12 | USB Type-C | Deuxième écran interactif SMART Board | |
13 | Sortie 3,5 mm stéréo | Système audio externe | |
14 | Entrée 3,5 mm stéréo | Entrée VGA (audio) | |
15 | USB 2.0 Type-A | N / A | Ce connecteur est un port de service. |
16 | Sortie S/PDIF | Sortie audio numérique | |
17 | RJ45 (×2) | Réseau | |
18 | RS-232 | Système de contrôle local |

Ce diagramme et ce tableau présentent les connecteurs du panneau d'appoint de l'écran :

N° | Connecteur | Se branche à | Remarques |
---|---|---|---|
1 | USB Type-C | Entrée USB Type-C 1 OU Clés USB, périphériques et autres appareils pris en charge | |
2 | Entrée HDMI 2.1 | Entrée HDMI 3 (vidéo et audio) OU Source vidéo externe | |
3 | USB 3.0 Type-B | Entrée HDMI 3 (toucher, microphone, caméra et autres périphériques USB) | |
4 | USB 3.2 Gen 1 Type-A | Clés USB, périphériques et autres appareils pris en charge | |
5 | USB 3.2 Gen 1 Type-A | Clés USB, périphériques et autres appareils pris en charge |