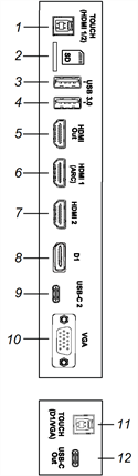
Anschlussdiagramme

Diese Abbildung und Tabelle zeigen die Anschlüsse an den seitlichen und Unterseite Anschlussfeldern des Displays:
Seite
Unterseite
Nr. | Verbindung | Für den Anschluss an | Notizen |
---|---|---|---|
1 | USB 2.0, Typ B | HDMI-1-Eingang (Berührung) ODER HDMI 2-Eingang (Berührung) | Wenn Sie Geräte sowohl an die Anschlüsse des HDMI 1- als auch des HDMI 2-Eingangs angeschlossen haben, müssen Sie eine USB-Kabelverbindung zwischen den Geräten freigeben (vorausgesetzt, Sie möchten beide Geräte Touch ). |
2 | Mikro-SD | MicroSD-Karte | Nicht verfügbar |
3 | USB 3.2 Gen 1 Typ A | Unterstützte USB-Laufwerke, Peripheriegeräte und andere Geräte | |
4 | USB 3.2 Gen 1 Typ A | Unterstützte USB-Laufwerke, Peripheriegeräte und andere Geräte | |
5 | HDMI 2.1-Ausgang | Externes Display ODER Externes Audiosystem | |
6 | HDMI 2.1-Eingang | HDMI 1 Eingang (Video und Audio) ODER Externe Videoquelle ODER Externes Audiosystem | Dieser Anschluss unterstützt HDMI ARC (Audio Return Channel), mit dem Audiosignale zwischen dem Display und dem angeschlossenen Endgerät übertragen und die Audioqualität dadurch verbessert werden. |
7 | HDMI 2.1-Eingang | HDMI 2 Eingang (Video und Audio) ODER Externe Videoquelle | |
8 | DisplayPort 1.4a | Display-Port-Eingang (Video und Audio) | |
9 | USB Typ-C | USB-Typ-C 2-Eingang ODER Unterstützte USB-Laufwerke, Peripheriegeräte und andere Geräte | |
10 | VGA In | VGA-Eingang (Video) | |
11 | USB 2.0, Typ B | D1 (Display-Anschluss, Touch) ODER VGA (Touch) | Wenn Sie Geräte sowohl an den D 1-Eingang (Display Port) als auch an den VGA-Eingang angeschlossen haben, müssen Sie eine USB-Kabelverbindung zwischen den Geräten teilen (vorausgesetzt, Sie möchten beide Geräte Touch ). |
12 | USB Typ-C | Zweites SMART Board Interactive Display | |
13 | 3,5-mm-Stereo-Ausgang | Externes Audiosystem | |
14 | 3,5 mm Stereo-Eingang | VGA-Eingang (Audio) | |
15 | USB 2.0 Typ-A | Nicht verfügbar | Bei diesem Anschluss handelt es sich um einen Wartungsanschluss. |
16 | S/PDIF-Ausgang | Digitaler Audioausgang | |
17 | RJ45 (×2) | Netzwerk | |
18 | RS-232 | Raumsteuerungssystem |

Dieses Diagramm und diese Tabelle zeigen die Anschlüsse am Convenience Panel des Displays:

Nr. | Verbindung | Für den Anschluss an | Notizen |
---|---|---|---|
1 | USB Typ-C | USB-Typ-C 1-Eingang ODER Unterstützte USB-Laufwerke, Peripheriegeräte und andere Geräte | |
2 | HDMI 2.1-Eingang | HDMI 3-Eingang (Video und Audio) ODER Externe Videoquelle | |
3 | USB 3.0 Typ B | HDMI 3-Eingang (Touch, Mikrofon, Kamera und andere USB-Peripheriegeräte) | |
4 | USB 3.2 Gen 1 Typ A | Unterstützte USB-Laufwerke, Peripheriegeräte und andere Geräte | |
5 | USB 3.2 Gen 1 Typ A | Unterstützte USB-Laufwerke, Peripheriegeräte und andere Geräte |