Connector diagrams

This diagram and table present the connectors on the display’s side and bottom connector panels:
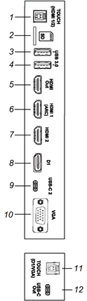
Side
Bottom
No. | Connector | Connects to | Notes |
---|---|---|---|
1 | USB 2.0 Type-B | HDMI 1 input (touch) OR HDMI 2 input (touch) | If you have devices connected to both the HDMI 1 and HDMI 2 inputs’ connectors, you will need to share a USB cable connection between the devices (assuming you want touch on both devices). |
2 | microSD | microSD card | N/A |
3 | USB 3.2 Gen 1 Type-A | Supported USB drives, peripherals, and other devices | |
4 | USB 3.2 Gen 1 Type-A | Supported USB drives, peripherals, and other devices | |
5 | HDMI 2.1 Out | External display OR External audio system | |
6 | HDMI 2.1 In | HDMI 1 input (video and audio) OR External video source OR External audio system | This connector supports HDMI ARC (Audio Return Channel), which allow audio signals to travel between the display and the connected device and improve audio quality as a result. |
7 | HDMI 2.1 In | HDMI 2 input (video and audio) OR External video source | |
8 | Display Port 1.4a | Display Port input (video and audio) | |
9 | USB Type-C | USB Type-C 2 input OR Supported USB drives, peripherals, and other devices | |
10 | VGA In | VGA input (video) | |
11 | USB 2.0 Type-B | D1 (Display Port, touch) OR VGA (touch) | If you have devices connected to both the D 1 (Display Port) and VGA inputs’ connectors, you will need to share a USB cable connection between the devices (assuming you want touch on both devices). |
12 | USB Type-C | Second SMART Board interactive display | |
13 | Stereo 3.5 mm Out | External audio system | |
14 | Stereo 3.5 mm In | VGA input (audio) | |
15 | USB 2.0 Type-A | N/A | This connector is a service port. |
16 | S/PDIF out | Digital audio output | |
17 | RJ45 (×2) | Network | |
18 | RS-232 | Room control system |

This diagram and table present the connectors on the display’s convenience panel:

No. | Connector | Connects to | Notes |
---|---|---|---|
1 | USB Type-C | USB Type-C 1 input OR Supported USB drives, peripherals, and other devices | |
2 | HDMI 2.1 in | HDMI 3 input (video and audio) OR External video source | |
3 | USB 3.0 Type-B | HDMI 3 input (touch, microphone, camera, and other USB peripherals) | |
4 | USB 3.2 Gen 1 Type-A | Supported USB drives, peripherals, and other devices | |
5 | USB 3.2 Gen 1 Type-A | Supported USB drives, peripherals, and other devices |