Diagramas de conexión

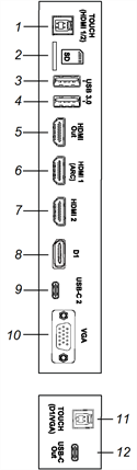
Este diagrama y tabla presentan los conectores en el lateral de la pantalla y en el panel de conexiones inferior:
Parte lateral
Parte inferior
No. | Conector | Conectado a | Notas |
---|---|---|---|
1 | USB 2.0 Tipo B | Entrada HDMI 1 (táctil) o Entrada HDMI 2 (táctil) | Si tiene dispositivos conectados a los conectores de entrada HDMI 1 y HDMI 2, necesitará compartir una conexión de cable USB entre los dispositivos (suponiendo que desee tocar en ambos dispositivos). |
2 | Micro SD | Tarjeta micro-SD | N / A |
3 | USB 3.2 Gen 1 Tipo-A | Unidades USB, periféricos y otros dispositivos compatibles | |
4 | USB 3.2 Gen 1 Tipo-A | Unidades USB, periféricos y otros dispositivos compatibles | |
5 | Salida HDMI 2.1 | Pantalla externa o Sistema de audio externo | |
6 | Entrada HDMI 2.1 | Entrada HDMI 1 (vídeo y audio) o Fuente de vídeo externo o Sistema de audio externo | Este conector es compatible con HDMI ARC (Audio Return Channel), que permite que las señales de audio viajen entre la pantalla y el dispositivo conectado y, como resultado, mejoren la calidad del audio. |
7 | Entrada HDMI 2.1 | Entrada HDMI 2 (vídeo y audio) o Fuente de vídeo externo | |
8 | Display Port 1.4a | Entrada Display Port (vídeo y audio) | |
9 | USB Tipo-C | Entrada USB Tipo-C 2 o Unidades USB, periféricos y otros dispositivos compatibles | |
10 | VGA In | Entrada VGA (vídeo) | |
11 | USB 2.0 Tipo B | D1 (Display Port, tocar) o VGA (tocar) | Si tiene dispositivos conectados a los conectores de entrada D 1 (Display Port) y VGA, necesitará compartir una conexión de cable USB entre los dispositivos (suponiendo que desee la tocar en ambos dispositivos). |
12 | USB Tipo-C | Segunda pantalla interactiva SMART Board | |
13 | Salida estéreo de 3,5 mm | Sistema de audio externo | |
14 | Conector estéreo de 3,5 mm | Entrada VGA (audio) | |
15 | USB 2.0 tipo A | N / A | Este conector es un puerto de servicio. |
16 | Salida S/PDIF | Salida de audio digital | |
17 | RJ45 (×2) | Red | VéaseConexión a una red |
18 | RS-232 | Sistema de control de sala |

Este diagrama y tabla presentan los conectores del panel de servicio de la pantalla:

No. | Conector | Conectado a | Notas |
---|---|---|---|
1 | USB Tipo-C | Entrada USB Tipo-C 1 o Unidades USB, periféricos y otros dispositivos compatibles | |
2 | Entrada HDMI 2.1 | Entrada HDMI 3 (vídeo y audio) o Fuente de vídeo externo | |
3 | USB 3.0 Tipo-B | Entrada HDMI 3 (tocar, micrófono, cámara y otros periféricos USB) | |
4 | USB 3.2 Gen 1 Tipo-A | Unidades USB, periféricos y otros dispositivos compatibles | |
5 | USB 3.2 Gen 1 Tipo-A | Unidades USB, periféricos y otros dispositivos compatibles |